

459
uu
Customized Features
u
Continued
Features
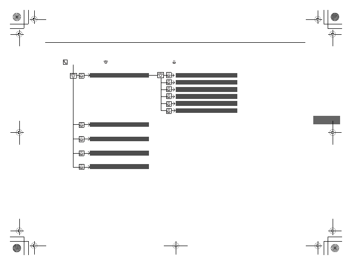
Press the
button and rotate
to
select
Phone Setup
, then press
.
Ringtone
Bluetooth Setup
Add New Device
Connect a Phone
Connect an Audio Device
Disconnect All Devices
Delete Device
Pass-Key
Speed Dial
Caller ID Info
System Clear
22 US ODYSSEY-31THR6400.book 459 ページ 2020年11月16日 月曜日 午後1時41分